Page top

E3X-DA-S / MDA

数字光纤放大器

E3X-DA-S / MDA

高功能的光纤放大器

E3X-MDA系列已于2021年8月底订货截止。E3X-DA□(□)-S/ DA□(□)AT-S/ DA□(□)RM-S/ DA□(□)SE-S/ DA□(□)TW-S于2017年3月底截止订货。

(单位:mm)

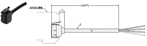
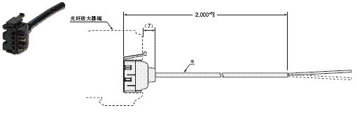
光纤放大器

导线引出型


E3X-DA11-S
E3X-DA41-S
E3X-DAG11-S
E3X-DAG41-S
E3X-DAB11-S
E3X-DAB41-S
E3X-DAH11-S
E3X-DAH41-S
E3X-DA11RM-S
E3X-DA41RM-S
E3X-DA11TW-S
E3X-DA41TW-S
E3X-DA11SE-S
E3X-DA41SE-S
E3X-DA11AT-S
E3X-DA41AT-S
E3X-DA11AN-S
E3X-DA41AN-S
E3X-MDA11
E3X-MDA41

E3X-DA-S / MDA 外形尺寸 3

注: 使用了安装支架(E39-L143)时,无法紧密安装光纤放大器。

省配线接插件型
E3X-DA6-S
E3X-DA8-S
E3X-DAG6-S
E3X-DAG8-S
E3X-DAB6-S
E3X-DAB8-S
E3X-DAH6-S
E3X-DAH8-S
E3X-DA6RM-S
E3X-DA8RM-S
E3X-DA6TW-S
E3X-DA8TW-S
E3X-DA6SE-S
E3X-DA8SE-S
E3X-DA6AT-S
E3X-DA8AT-S
E3X-MDA6
E3X-MDA8

E3X-DA-S / MDA 外形尺寸 4

注: 使用了安装支架(E39-L143)时,无法紧密安装光纤放大器。

传感器通信单元用接插件型
E3X-MDA0

E3X-DA-S / MDA 外形尺寸 5

省配线接插件

母接插件
E3X-CN11
E3X-CN21

E3X-DA-S / MDA 外形尺寸 7

* E3X-CN11:导线 φ4/3芯/标准2m(导体截面积:0.2mm2(AWG24)/绝缘体直径:φ1.1mm)
E3X-CN21导线 φ4/4芯/标准2m导体截面积0.2mm2(AWG24)/绝缘体直径:φ1.1mm)

子接插件
E3X-CN12
E3X-CN22

E3X-DA-S / MDA 外形尺寸 8

* E3X-CN11:导线 φ2.6/1芯/标准2m(导体截面积:0.2mm2(AWG24)/绝缘体直径:φ1.1mm)
E3X-CN21导线 φ4/2芯/标准2m导体截面积0.2mm2(AWG24)/绝缘体直径:φ1.1mm)

手持式控制台

E3X-MC11-SV2

E3X-DA-S / MDA 外形尺寸 10